k1体育注册就送38元(中国)官方入口
关于k1体育注册就送38元
集团简介
企业历程
员工活动
国资监管
合规管理
新闻中心
集团动态
部门动态
子公司动态
专题报道
党群建设
工作动态
身边榜样
学习园地
人才发展
人才战略
人才培养
招聘信息
录用公示
情况公告
招标采购
招采管理
集团交易信息
所属公司交易信息
信息公开
企业基本信息
企业经营情况
重大人事事项
企业重大事项
其他公开事项
成员企业信息
品牌之窗
企业名片
名优产品
特色优势
联系我们
省政府信息
企业邮箱
OA
关于k1体育注册就送38元
新闻中心
党群建设
人才发展
招标采购
信息公开
品牌之窗
联系我们
省政府信息
企业邮箱
OA
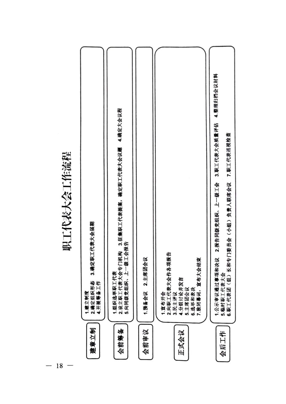
关于印发《职工代表大会操作指引》的通知(国厂开组办发[2022]2号)
关于印发《职工代表大会操作指引》的通知(国厂开组办发[2022]2号)
2022-04-21
上一条
返回列表
下一条